股票代码836946
全国咨询热线: 400-0373-685 / 0373-5701115
6up九游会 9九游会 医药生产系统 精密过滤系统 尾矿干排系统 输煤专供系统
AG8九游会平台官网 精细筛分 矿用筛分 破碎设备 过滤设备 输送设备 成套设备 电机&筛网
91九游会 医药行业 化工行业 冶金行业 矿产行业 热电行业 油脂行业 其他行业
食品行业 医药行业 化工行业 冶金行业 矿产行业 热电行业 油脂行业 其他行业
服务内容 配件中心 保养常识 我要报修
公司动态 媒体报道 产品百科 视频中心 高服图库
公司简介 发展历程 企业文化 社会责任 社会荣誉 专利创新
热门关键词: 振动筛 旋振筛 ag九游官网 直线筛 脱水筛 四齿辊破碎机 ag九游官方网站登录
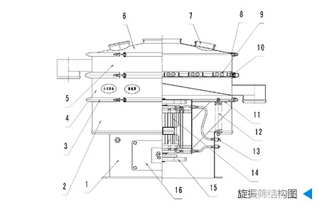
振动筛是筛分设备的统称,振动筛主要有精细类:旋振筛、直线振动筛、摇摆筛、超声波振动筛、直排筛等,矿用类:圆振动筛、概率筛、脱水筛、方形摇摆筛、棒条筛、滚轴筛等。所以今天小编主要将使用量较大的旋振筛、直线振动筛、圆振动筛的图纸结构图原理图给大家详细展示一下。
我们不仅仅服务于500强企业 ……无论您在何地,我们都提供完善的服务与支持。
本文标签: 筛分机价格 直线振动筛多少钱 投料站价格
咨询热线
400电话
返回顶部