股票代码
836946

选择区域/语言 在线留言3D展厅VR全景 欢迎进入j9·九游会游戏网站官网!

专注筛分行业40+年超10000+客户的选择

全国咨询热线: 400-0373-685 / 0373-5701115

筛分机价格
振动筛旋振筛常见故障及处理方法

振动筛旋振筛常见故障及处理方法

序号故障现象可能原因处理方法一电源接通后电机不能启动1.定子绕组机间短路,定子绕组断路,接地;2.定子绕组接线错误;3.…
振动筛分机旋振筛使用说明及注意事项

振动筛分机旋振筛使用说明及注意事项

S49-A系列三元旋振reg筛介绍S49-A系列三元旋振reg筛是一种高精度细粉筛分机械,其噪音低、效率高,快速换网仅需…
ag飞车安卓版九游

ag飞车安卓版九游

振动筛和旋振筛、摇摆筛、直排筛、直线筛区别?振动筛是筛分设备的统称,振动筛按照筛分行业、物料不同分为精细筛分设备和矿用筛…
ag九游登录大厅

ag九游登录大厅

中国河南新乡振动筛厂家是哪家好?“高服reg”中国知名振动筛品牌,国内振动筛厂家排名前列,坐落于河南新乡,高服是国内较大…
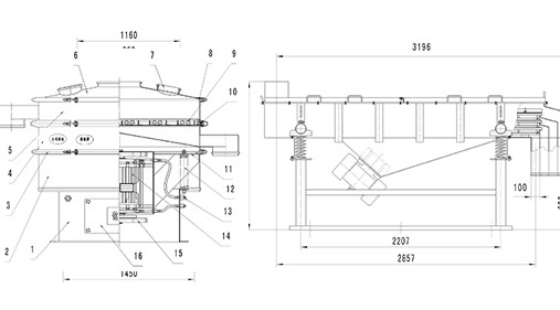
振动筛图纸结构图原理图

振动筛图纸结构图原理图

振动筛是筛分设备的统称,振动筛主要有精细类:旋振筛、直线振动筛、摇摆筛、超声波振动筛、直排筛等,矿用类:圆振动筛、概率筛…

咨询热线

400-0373-685
Baidu
ag8九游会j9