j9·九游会游戏网站

资讯详情
服务内容 配件中心 保养常识 我要报修
产品百科
直线振动筛坡度,走料太慢,两台电机的转向,安装角度

问:直线振动筛坡度一般是多少?

答:直线振动筛坡度倾角0°~7° 根据物料特性不同所选择的倾角不同。

问:直线振动筛走料太慢怎么办?

答:1.检查筛网的涨紧度,确保筛面绷紧不松动;
2.直线振动筛坡度倾角适当调整大一些0°~7°;
3.选择激振力较大的振动电机;

如果还是不能解决说明购买设备时出现问题,选择经验丰富的厂家购买设备。

问:直线振动筛两台电机的转向?

答:两台电机做相对运转时,一台正向运转,另一台方向运转,其产生在横向的激振力由于电机的相对运转而相互抵消,如下图所示:

直线振动筛两台电机的转向

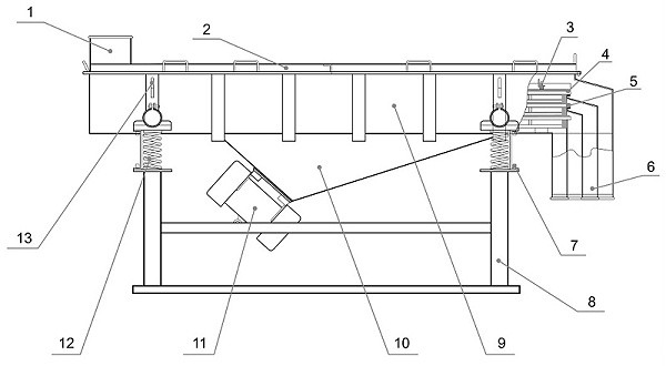
问:直线振动筛电机安装角度?

答:直线振动筛的电机形式分两种:一种上振式,另一种下振式,安装角度不能说固定的角度,根据设备尺寸大小、配置等各方面因素不同角度也不尽相同,两种形式示意图如下:

直线振动筛电机安装角度

问:直线振动筛可以用一个电机吗?

答:不可以,单台电机做运转时产生的激振力无法抵消,导致设备倾斜损坏,详细可以查看直线振动筛工作原理。

直线振动筛工作原理:当纵向安装在筛体上的两台振动电机做相对运转时,其产生在横向的激振力由于电机的相对运转而相互抵消,其纵向激振力通过传振体传递到整个筛箱上,而使筛面振动,进行筛分作业的。

返回列表
上一篇
下一篇
Baidu
ag8九游会j9